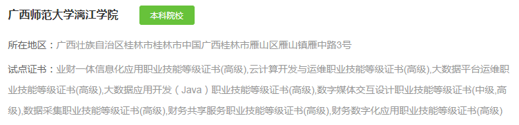
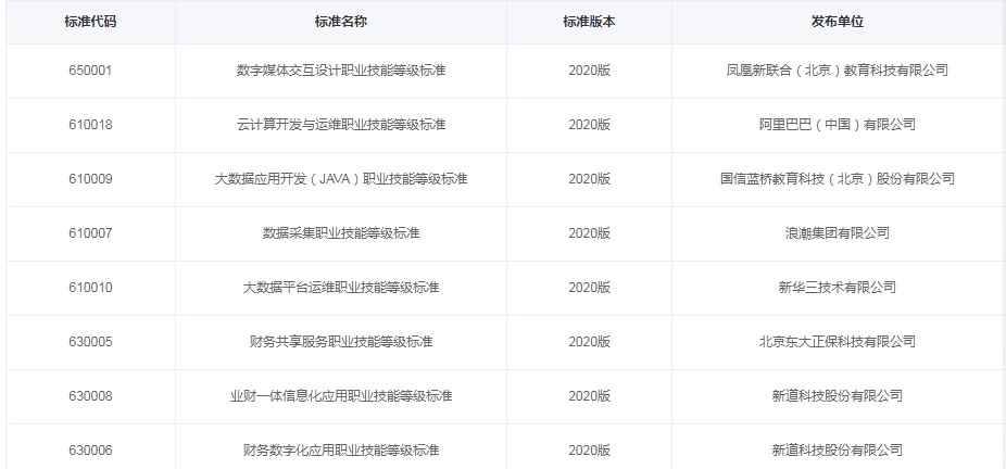
近日,教育部印发《关于第三批1+X证书制度试点院校名单的公告》,我校成功获批“财务共享服务、业财一体信息化应用、财务数字化应用、大数据应用开发(Java)、数字媒体交互设计、大数据平台运维、数据采集、云计算开发与运维”等8个1+X职业技能认证项目。
推行1+X证书制度是《国家职业教育改革实施方案》的核心内容和重点项目之一,也是落实立德树人根本任务,完善职业教育和培训体系,深化产教融合校企合作的重要举措。1+X证书制度中“1”为学历证书,“X”为若干职业技能等级证书。该制度的试点可进一步发挥好学历证书作用,夯实学生可持续发展基础,鼓励学生在获得学历证书的同时,积极取得多类职业技能等级证书。
我校积极顺应国家职业技能培训发展战略,深化教育教学改革。教学科研处统筹组织设计学院、理工学院、经济管理学院,依托自治区重点专业、校企合作专业等试点专业建设基础,落实申报任务,积极对接认证单位,在时间紧、任务重的情况下,高质量的完成了本次认证项目申报。学校将以此次获批试点院校为契机,对标1+X证书体系,进一步深化教育教学改革,优化专业人才培养方案,推进专业“书证融通”,增强人才培养与产业需求的吻合度,大力培养复合型技术技能人才,提升学生适应工作岗位硬实力,有力推动我校人才培养质量的提升。

